Foram encontradas 50 questões.
Um bloco A, de massa MA = 1,5 kg, é ligado ao bloco B, de massa MB = 0,3 kg, por um fio fino e inextensível que passa por uma roldana ideal. Sabe-se que o sistema está em equilíbrio, com o bloco A na eminência de escorregar. Calcule o coeficiente de atrito estático entre o bloco e a mesa.

Provas
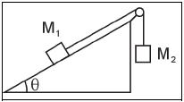
O sistema mostrado na figura abaixo está em equilíbrio. Despreze o atrito no plano inclinado e considere a roldana ideal. A razão M2/M1 entre as massas dos blocos é igual a:

Provas
Duas partículas, de massas m1 = M e m2 = 3M, estão presas por uma haste de comprimento L = 40 cm e massa desprezível (veja a figura abaixo). Calcule a distância da posição do centro de massa do sistema, em relação à posição da massa m1 .

Provas
Qual a razão entre a velocidade angular do ponteiro dos minutos e a velocidade angular do ponteiro das horas de um relógio?
Provas
Um jarro de flores cai do alto de um edifício de 30 m. Calcule a sua velocidade quando ele se encontra a 10 m do solo. Despreze a resistência do ar.
Provas
Um barco faz a travessia de um rio, de 80 m de largura, seguindo a trajetória AB mostrada na figura abaixo, num intervalo de tempo igual a 10 segundos. Calcule a velocidade do barco em relação à margem do rio, considerando a composição de movimentos uniformes

Provas

Provas

A figura mostra a variação da distância em função do tempo de dois carros, A e B, em movimento retilíneo e uniforme. Sabendo-se que os carros saem do mesmo ponto, determine a razão vA/vB entre as velocidades dos carros no instante da ultrapassagem.

Provas
O Estatuto da Criança e do Adolescente trata do direito à educação, à cultura, ao esporte a ao lazer, afirmando:
Provas

Em relação à definição de pronome, a resposta do garoto, no último quadrinho, revela:
Provas
Caderno Container