Foram encontradas 400 questões.
Em relação aos formatos de trama Ethernet, assinale a alternativa correta.
Provas
No que diz respeito à comunicação entre os dispositivos Mobdus, analise as assertivas abaixo.
I. Os dispositivos Modbus comunicam utilizando a técnica mestre-escravo, que permite que somente um dispositivo (o mestre) possa iniciar as transações (chamadas de queries).
II. Os dispositivos (escravos) respondem de acordo com o pedido do mestre, ou de acordo com a tarefa em questão.
III. Um dispositivo periférico escravo (válvula, drive de rede ou outro dispositivo de medição) é que processa a informação e envia o dado para o mestre.
É correto o que se afirma em
Provas
Observe os símbolos abaixo e, em seguida, assinale a alternativa que os apresenta, respectivamente.

Provas
Leia o trecho abaixo e, em seguida, assinale a alternativa que preenche correta e respectivamente as lacunas.
A de uma substância é a razão entre a de uma quantidade da substância e o volume (V) correspondente. Uma unidade muito usual para a é o g/cm3, mas no SI a unidade é o kg/m3. É comum se encontrar termo em lugar de massa específica (m). Usa-se para representar a razão entre a massa e o volume de objetos sólidos (ocos ou maciços), e para líquidos e substâncias.
Provas
Correlacione os tipos de trama que podem existir numa rede Ethernet (Coluna A) com suas respectivas características (Coluna B) e, em seguida, assinale a alternativa que apresenta a sequência correta.
| COLUNA A |
COLUNA B |
| 1. Trama “Ethernet II”. |
( ) Devido à ausência de multiplexagem, apenas pode ser usado por um protocolo (o IPX), para evitar conflitos com outros formatos de trama. O primeiro octeto de dados tem obrigatoriamente o valor FF (255). |
| 2. Trama “802.3 RAW”. |
( ) Também conhecida por DIX (Digital; Intel; Xerox), é a trama "standard" para o protocolo IP, e por arrastamento tem uma utilização crescente. |
| 3. Trama “802.3” (802.2/802.3). |
( ) Usa sempre os valores de SAP "AA" que foi atribuído para este efeito. O campo SNAPID é dividido em duas partes, os 3 octetos mais significativos identificam a organização – OUI (“Organizational Unit Identifier”). |
| 4. Trama “Ethernet SNAP”. |
( ) Um dos problemas deste formato é que dispõe de um cabeçalho com um número ímpar de octetos (17), o que causa dificuldades às implementações que funcionam a 32 bits; por outro lado os SAP de 8 bits são muito limitados para identificar protocolos. |
Provas
Em relação à checagem de erro Modbus, marque V para verdadeiro ou F para falso, e, em seguida, assinale a alternativa que apresenta a sequência correta.
( ) No modo ASCII de transmissão, o caractere de quadro inclui o campo de CRC como o último campo precedente dos caracteres CR e LF. Este campo contém dois caracteres ASCII que representam o resultado do CRC para todos os campos exceto o início do caractere e fim com o par CR e LF.
( ) Um dispositivo Modbus pode ser configurado para paridades par ou ímpar, ou para nenhuma verificação de paridade. Isto determina como o bit de paridade do caractere do frame está configurado.
( ) O modo de mensagem RTU inclui um método de checagem de erro que é baseado no LRC. O campo de checagem de erro contém um valor de 32 bits (dois de 16 bits) que contém o resultado do cálculo de LRC sobre o conteúdo da mensagem.
Provas

A figura se trata de uma representação
Provas


As figuras se tratam de, respectivamente,
Provas

As figuras se tratam de, respectivamente,
Provas

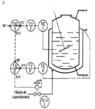
A figura se trata de uma
Provas
Caderno Container