Foram encontradas 13.241 questões.
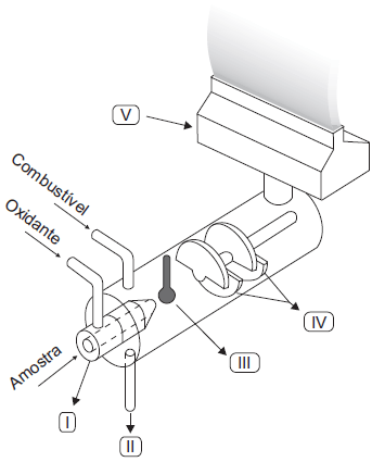
Observe o diagrama esquemático abaixo representando um dispositivo de nebulização e queima por mistura prévia, usado em espectroscopia de absorção atômica. Relacione as partes do esquema apresentado com os nomes dos dispositivos indicados a seguir.

HARRIS, D. C. Análise Química Quantitativa, 7 ed. Rio de Janeiro: LTC, 2008. (Adaptado)
P – Cabeçote do Queimador
Q – Defletores (flow spoiler)
R – Dreno
S – Nebulizador
T – Pérola de Impacto
Estão corretas as associações
Provas
Em uma medida do pH, com eletrodo de vidro combinado com eletrodo de referência prata/cloreto de prata, é desejável que a (o)
Provas
Um método eletroanalítico é utilizado para fazer a análise de traços de zinco, cádmio, chumbo e cobre, em amostra de água. Esse método se baseia na medida da corrente elétrica, em função do potencial aplicado, e em condições que estimulam a polarização de um eletrodo de trabalho, (um tubo capilar muito fino, conectado a um reservatório de mercúrio metálico). Numa primeira etapa, os analitos presentes em uma solução diluída são concentrados dentro do filme fino de mercúrio do eletrodo de trabalho, por meio de redução eletrolítica. Numa segunda etapa, as espécies eletroativas são removidas (oxidadas), uma após a outra, do eletrodo de trabalho pela inversão na direção da varredura do potencial. A corrente elétrica medida durante a oxidação é proporcional à quantidade de analito que foi depositada no eletrodo de trabalho. O método eletroanalítico denomina-se
Provas
Um padrão primário é uma substância que serve como material de referência em métodos titulométricos. Para garantir a exatidão do método, o padrão primário deve ter como um dos requisitos a(o)
Provas
50,00 mL de uma solução aquosa de certo ácido foi titulada contra uma solução padronizada de hidróxido de sódio 0,1000 mol/L. Com o auxílio de um eletrodo de vidro, construiu-se a curva de titulação abaixo.

Sobre o experimento realizado, analise as afirmativas a seguir.
I – Pela curva de titulação, pode-se perceber que o ácido é fraco.
II – A concentração do ácido em questão é de 0,1000 mol/L.
III – No volume de 10,00 mL, o valor de pH é igual ao do pKa do ácido.
IV – O pH no ponto estequiométrico é 7,0.
Estão corretas APENAS as afirmativas
Provas
A padronização de uma solução de hidróxido de sódio utilizou como padrão primário o biftalato de potássio (KHC8H4O4). A tabela abaixo mostra os resultados da titulação.
|
Titulação |
Massa de biftalato de NaOH |
Volume de NaOH |
| 1 |
0,5502 g |
23,12 mL |
| 2 | 0,5328 g |
22,32 mL |
A concentração média encontrada para a solução de hidróxido de sódio, em mol/L, é
Provas
Uma solução aquosa de cloreto de sódio com concentração de 0,010 mol/L foi transferida para um béquer, onde se mergulhou um aparelho para medir a condutividade elétrica de tal solução.
Dividiu-se a solução original em três partes denominadas P, Q e R, onde foram adicionados:
Parte P: 200 mL de água deionizada
Parte Q: 1,00 g de cloreto de sódio
Parte R: 1,00 g de carbonato de amônio
Sabendo-se que a fração do volume da solução original dividido entre as partes era o mesmo, qual é o efeito da adição das substâncias indicadas na condutividade elétrica nas partes P, Q e R, em relação à medida da solução inicial?
| Parte P |
Parte Q | Parte R |
Provas
Considere os eletrodos abaixo e seus respectivos potenciais nas condições padrão.
I – Ag+ (aq)/Ag(s) Eº = 0,799 V
II – Cl2(g)/Cl– (aq) Eº = 1,358 V
III – Na+ (aq)/Na(s) Eº = -2,71 V
Desprezando o aumento da força iônica no meio, qual será o efeito da adição de íons cloreto em cada um dos potenciais dos eletrodos?
| Eletrodo I |
Eletrodo II | Eletrodo III |
Provas
O tipo de manutenção industrial executada em um equipamento crítico que sofreu uma parada de emergência é a manutenção
Provas
Dentre os compostos, conhecidos como auxiliares de filtração, os materiais mais usados são sólidos porosos inertes, que podem ser adicionados à alimentação antes da filtração. Esta adição tem, como consequência,
Provas
Caderno Container