Foram encontradas 55 questões.
Suponha que seja aprovada uma lei estadual que estabeleça normas específicas sobre proteção e defesa da saúde. Esta lei será considerada
Provas
A Lei nº 9.836/99 acrescentou à Lei nº 8.080/90 dispositivos que tratam do Subsistema de Atenção à Saúde Indígena. Sobre este Subsistema, é INCORRETO afirmar que
Provas
De acordo com o Art. 199 da Constituição Federal, “a assistência à saúde é livre à iniciativa privada”. No entanto,
Provas
- SUSLei 8.080/1990: Lei Orgânica da SaúdeSistema Único de SaúdePrincípios, Objetivos, Diretrizes e Atribuições.Arts. 5º e 6º: Objetivos e Atribuições
Nos termos da Lei nº 8.080/90 (Art. 6, I, a), inclui-se no campo de atuação do SUS, dentre outras, a execução de ações de vigilância sanitária. A este respeito, considere as afirmativas a seguir.
I – À União é vedada a execução de ações e serviços de vigilância sanitária, cabendo à direção nacional apenas definir e coordenar os sistemas de vigilância sanitária.
II – A execução de ações e serviços de vigilância sanitária é de competência dos Municípios, podendo ser exercida, em caráter complementar, pelos Estados.
III – Aos Municípios é vedada a execução de ações e serviços de vigilância sanitária em portos, aeroportos e fronteiras.
Está(ão) correta(s) APENAS a(s) afirmativa(s)
Provas
A Segurança da Informação se refere à proteção existente sobre as informações de uma determinada empresa ou pessoa, aplicando-se tanto às informações corporativas quanto às pessoais. Abaixo, são apresentadas algumas propriedades básicas que, atualmente, orientam a análise, o planejamento e a implementação da segurança para um determinado grupo de informações que se deseja proteger.
Relacione as propriedades apresentadas na coluna da esquerda com as respectivas descrições, na coluna da direita.
|
Propriedade |
Descrição |
|
I – Confidencialidade |
(Q) Propriedade que limita o acesso à informação tão somente às entidades legítimas, ou seja, àquelas autorizadas pelo proprietário da informação. |
|
II – Disponibilidade |
(R) Propriedade que garante que a informação manipulada mantenha todas as características originais estabelecidas pelo proprietário da informação, incluindo controle de mudanças e garantia do seu ciclo de vida (nascimento, manutenção e destruição). |
|
III – Integridade |
Estão corretas as associações:
Provas
Para que possam funcionar, os microcomputadores devem estar dotados de recursos de hardware e de software. A esse respeito, é correto afirmar que a(o)
Provas
Considere a tabela abaixo em uma planilha do Microsoft Excel, que apresenta a quantidade de empregados por setor de uma empresa. A respeito do Excel e de seus recursos, são feitas as afirmativas a seguir.

I – Para somar a quantidade de empregados da empresa, deve-se digitar, na célula B6, a fórmula =SOMA(B2:B5).
II – Através do ícone
, o usuário pode classificar os setores da empresa, em ordem alfabética crescente.
III – O ícone
pode ser utilizado para definir bordas para as células da planilha.
Está(ão) correta(s) a(s) afirmativa(s)
Provas
A figura ao lado apresenta uma página sendo visualizada no Microsoft Internet Explorer em sua configuração padrão. Sobre a figura acima e os recursos do Microsoft Internet Explorer é FALSO afirmar que
Provas
Para responder a questão, considere as siglas a seguir.
EAS – Estabelecimento Assistencial de Saúde.
PBA – Projeto Básico de Arquitetura.
RDC 50 – Resolução Anvisa RDC nº 50, de 21/02/2002, que dispõe sobre o Regulamento Técnico para planejamento, programação, elaboração e avaliação de projetos físicos de estabelecimentos assistenciais de saúde.
Portaria 840/07 – Portaria Funasa nº 840, de 15/08/2007, que estabelece as diretrizes para projetos físicos de estabelecimentos de saúde para povos indígenas.
NBR 9050 – Norma ABNT NBR 9050/2004, atualizada em 2005, de acessibilidade a edificações, mobiliário, espaços e equipamentos urbanos.
NBR 6492 – Norma ABNT NBR 6492/1994, de representação de projetos de arquitetura.
Uma obra tem cronograma físico-financeiro com prazo de quatro meses e com os serviços S1 e S2 apresentando custo total de R$ 10.000,00 e R$ 30.000,00, respectivamente. No mês 2 está prevista a realização de 10% do serviço S1 e de 30% do serviço S2. Logo, o mês 2 representa, em relação ao total da obra, um valor correspondente a
Provas
Para responder a questão, considere as siglas a seguir.
EAS – Estabelecimento Assistencial de Saúde.
PBA – Projeto Básico de Arquitetura.
RDC 50 – Resolução Anvisa RDC nº 50, de 21/02/2002, que dispõe sobre o Regulamento Técnico para planejamento, programação, elaboração e avaliação de projetos físicos de estabelecimentos assistenciais de saúde.
Portaria 840/07 – Portaria Funasa nº 840, de 15/08/2007, que estabelece as diretrizes para projetos físicos de estabelecimentos de saúde para povos indígenas.
NBR 9050 – Norma ABNT NBR 9050/2004, atualizada em 2005, de acessibilidade a edificações, mobiliário, espaços e equipamentos urbanos.
NBR 6492 – Norma ABNT NBR 6492/1994, de representação de projetos de arquitetura.
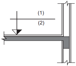
Considere NA = nível acabado, NF = nível final, NO = nível em osso, NP = nível do pavimento e a simbologia a seguir, que indica as cotas de nível em uma planta de corte.

NBR 6492/1994. (Adaptado)
De acordo com a NBR 6492, essas cotas devem ser medidas em metros e representadas de forma que em (1) e (2) estejam indicadas, respectivamente,
Provas
Caderno Container