Foram encontradas 186 questões.
O BDI (Benefícios e Despesas Indiretas) é um elemento utilizado em orçamentos de obras de construção civil, que leva em conta, como o próprio nome diz, os custos indiretos e variáveis de uma obra. Assinale a alternativa que indica itens que compõem o cálculo do BDI.
Provas
Um método construtivo muito comum no mundo é o Light Steel Frame. Seu uso é muito comum fora do país, mas vem ganhando espaço também no Brasil. Pode ser utilizado para qualquer tipo de edificação (residenciais, comerciais, hospitalares entre outros). Assinale a alternativa que apresenta uma desvantagem desse sistema construtivo em comparação com os sistemas tradicionais.
Provas
Dadas as afirmativas quanto às instalações prediais de água fria, de água quente, de esgotos sanitários, de águas pluviais, de gás e elétricas,
I. Para instalações prediais de água fria, em qualquer caso, a pressão dinâmica da água no ponto de utilização não pode ser inferior a 10 kPa (1 mca) e a pressão estática nos pontos de utilização não pode superar 400 kPa (40 mca).
II. Em instalações prediais de água quente, as pressões mínimas não devem ser inferiores a 0,50 mca e as velocidades nas tubulações não devem ultrapassar 3 m/s.
III. As instalações elétricas de baixa tensão são regulamentadas por norma da Associação Brasileira de Normas Técnicas (ABNT), sendo considerados os circuitos elétricos alimentados sob tensão nominal igual ou inferior a 1.000 V em corrente alternada, com frequências inferiores a 400 Hz, ou a 1.500 V em corrente contínua.
IV. Conforme regulamentação, para o projeto e a execução de redes de distribuição interna para gases combustíveis em instalações residenciais e comerciais, a pressão de operação não deve exceder a 150 kPa (1,53 kgf/cm2).
verifica-se que está(ão) correta(s)
Provas
Um loteamento, com 180 ha de área, tem suas vertentes para um talvegue de 4,3 km de extensão e a diferença de cotas entre o ponto mais alto e a seção de drenagem igual a 77 m. Considere os dados:
- Coeficiente de escoamento superficial = 0,25;
- Intensidade média da precipitação = 3 mm/min;
- 1 mm/min = 1/6 m3/(s x ha).
Qual a vazão máxima na seção de drenagem para a recorrência de 25 anos?
Provas
Estima-se, para a elaboração de um projeto de abastecimento de água, que a população futura de uma cidade é de 20.000 habitantes. O manancial que será utilizado como fonte de abastecimento encontra-se a 2.800 m de distância, com desnível de 21 m, o qual pode ser aproveitado para adução por gravidade. Considere as seguintes informações:
- Quota per capita de água = 200 L/(hab x d);
- Coeficiente de retorno esgoto/água = 0,8;
- k1 = 1,2;
- k2 = 1,5;
- k3 = 0,5.
Qual a vazão máxima capaz de atender o abastecimento de água dessa cidade?
Provas
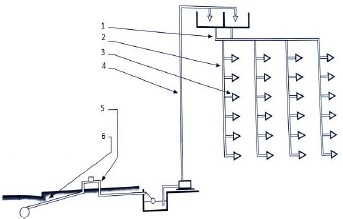
As instalações prediais de água fria possuem diversos componentes. Considerando a figura, identifique os componentes de 1 a 6.

AZEVEDO NETO, M. F. Fernandez, R. Araujo, A. E. Ito. Manual de Hidráulica. São Paulo, Edgard Blucher, 1998 8ª ed. 669p.
Provas
Em dimensionamento de estruturas, nas verificações relativas ao estado limite último, quando há mais de um tipo de ação, deve-se ponderar as ações consideradas secundárias com seus valores reduzidos de combinação Ψ0Fk, onde Ψ0 é o coeficiente reduzido de ponderação e Fk é o valor característico da ação. Assinale a alternativa que apresenta o motivo dessa combinação ser levada em consideração.
Provas
Dadas as afirmativas quanto à drenagem urbana,
I. Recorrência ou retorno é o inverso da frequência, ou seja, o período em que uma dada chuva pode ocorrer ou ser superada (anos por vez).
II. Bueiro é toda canalização de pouca extensão destinada a dar escoamento às águas contidas nos talvegues.
III. Frequência é o intervalo de tempo de observação de uma chuva.
IV. O coeficiente de deflúvio independe da declividade e permeabilidade do solo.
verifica-se que está(ão) correta(s)
Provas
A industrialização na construção civil está relacionada, entre outros fatores, com a produção dos componentes em um ambiente industrial (pré-fabricados), com posterior montagem, peça por peça, no canteiro de obras e, consequentemente, gerando menos resíduos, trazendo economia de consumo de energia e aumento de produtividade. Assinale a alternativa que indica que todos os componentes são processos industrializados.
Provas
Dentre os elementos essenciais escritos em um projeto de engenharia, podemos citar as plantas, os desenhos, os cálculos, o memorial descritivo e a especificação técnica. Essa especificação técnica indica, de maneira minuciosa, as propriedades mínimas que os materiais empregados numa construção devem apresentar, bem como as técnicas que devem ser empregadas na obra. Dados os itens que devem ser empregados por quem escreve a especificação técnica,
I. Citar dados técnicos específicos dos materiais e serviços.
II. Ser detalhista, não esquecendo itens pequenos.
III. Indicar classificação, tipo e dimensões dos materiais.
IV. Indicar sempre as informações atualizadas.
verifica-se que está(ão) correto(s)
Provas
Caderno Container