Foram encontradas 120 questões.
Um manipulador antropomórfico com 6 juntas revolutas está sendo usado para mover peças em uma linha de
produção automotiva. É possível afirmar que o Espaço de Trabalho do manipulador tem dimensão:
Provas
Questão presente nas seguintes provas
Considere um robô móvel não-holonômico que se move sobre um plano horizontal sem obstáculos. É correto
dizer que o robô:
Provas
Questão presente nas seguintes provas
Considere as afirmativas abaixo:
I – Além de apresentar um torque elevado (quando comparado a outras situações), a partida direta do motor de indução trifásico é o método mais barato.
II – Por ter acesso às correntes de linha do motor, pelo circuito de força, o relé térmico exibe a vantagem de proteger o motor contra curto-circuito.
III - A redução da corrente para 1/3 é a vantagem da partida estrela-triângulo em comparação com a partida direta.
IV- Porque a redução da corrente é feita via transformador, a partida compensadora reduz a corrente de entrada sem reduzir o torque do motor.
V – A aceleração do motor com a partida via softstarter exibe muitos trancos e golpes mecânicos porque a forma de onda da tensão de alimentação não é senoidal.
Das afirmativas é correto apenas o que se afirma em:
I – Além de apresentar um torque elevado (quando comparado a outras situações), a partida direta do motor de indução trifásico é o método mais barato.
II – Por ter acesso às correntes de linha do motor, pelo circuito de força, o relé térmico exibe a vantagem de proteger o motor contra curto-circuito.
III - A redução da corrente para 1/3 é a vantagem da partida estrela-triângulo em comparação com a partida direta.
IV- Porque a redução da corrente é feita via transformador, a partida compensadora reduz a corrente de entrada sem reduzir o torque do motor.
V – A aceleração do motor com a partida via softstarter exibe muitos trancos e golpes mecânicos porque a forma de onda da tensão de alimentação não é senoidal.
Das afirmativas é correto apenas o que se afirma em:
Provas
Questão presente nas seguintes provas
Na figura abaixo são dados um circuito de comando e comportamento de seu temporizador KT1

Analise as seguintes afirmativas.
I. O Contato 21-22 de K3 tem a função de intertravamento elétrico.
II. O Contato 13-14 de K1 tem a função de temporização.
III. A sequência de acionamento dos contatores será: K1-K2-K3.
IV. O Contato 13-14 de K1 tem a função de intertravamento mecânico.
V. A sequência de acionamento dos contatores será: K2-K1-K3.
VI. O Contato 21-22 de K3 tem a função de selo.
São corretas a(s) afirmativa(s):

Analise as seguintes afirmativas.
I. O Contato 21-22 de K3 tem a função de intertravamento elétrico.
II. O Contato 13-14 de K1 tem a função de temporização.
III. A sequência de acionamento dos contatores será: K1-K2-K3.
IV. O Contato 13-14 de K1 tem a função de intertravamento mecânico.
V. A sequência de acionamento dos contatores será: K2-K1-K3.
VI. O Contato 21-22 de K3 tem a função de selo.
São corretas a(s) afirmativa(s):
Provas
Questão presente nas seguintes provas
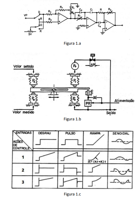
Dadas a implementação eletrônica de controladores e as possíveis respostas típicas dos elementos básicos de
controlador PID a entradas determinadas,

analise as seguintes afirmativas.
I. A implementação pneumática (Figura 1.b) é do controlador PID.
II. As implementações apresentadas (Figuras 1.a e 1.b) representam o mesmo controlador.
III. As respostas 3), 1) e 2) (Figura 1.c) são devidas às ações proporcional, proporcional-integral-derivativa e proporcional-integral.
IV. Nas respostas 1), 2) e 3) (Figura 1.c) não há ação derivativa.
V. A ação 2) (Figura 1.c) corresponde à ação proporcional-derivativa.
VI. A ação que corresponde à implementação pneumática (Figura 1.b) é ação 1) (Figura 1.c).
São corretas as afirmativas:

analise as seguintes afirmativas.
I. A implementação pneumática (Figura 1.b) é do controlador PID.
II. As implementações apresentadas (Figuras 1.a e 1.b) representam o mesmo controlador.
III. As respostas 3), 1) e 2) (Figura 1.c) são devidas às ações proporcional, proporcional-integral-derivativa e proporcional-integral.
IV. Nas respostas 1), 2) e 3) (Figura 1.c) não há ação derivativa.
V. A ação 2) (Figura 1.c) corresponde à ação proporcional-derivativa.
VI. A ação que corresponde à implementação pneumática (Figura 1.b) é ação 1) (Figura 1.c).
São corretas as afirmativas:
Provas
Questão presente nas seguintes provas
Considere que na entrada do algoritmo PID foi aplicada o sinal
,
onde
é a função degrau unitário. Sabendo que a equação do algoritmo é

e que a saída
do algoritmo é mostrada na figura abaixo (onde o peso dos impulsos corresponde ao seu
tamanho na escala vertical),

analise as seguintes alternativas:
I. Da figura é possível determinar apenas os valores Kp e Ti .
II. O algoritmo empregado é o PID ISA ou PID ideal, com parâmetros Kp = 2, Ti = 4 e Td = 1 .
III. O algoritmo empregado é o PID paralelo ou clássico, com parâmetros Kp = 2, Ti = 4 e Td = 2.
IV. Da figura é possível determinar os valores Kp, Ti e Td .
V. O algoritmo empregado é o PID ISA ou PID ideal, com parâmetros Kp = 2, Ti = 4 e Td indeterminado.
É(são) correta(s) a(s) afirmativa(s):

e que a saída

analise as seguintes alternativas:
I. Da figura é possível determinar apenas os valores Kp e Ti .
II. O algoritmo empregado é o PID ISA ou PID ideal, com parâmetros Kp = 2, Ti = 4 e Td = 1 .
III. O algoritmo empregado é o PID paralelo ou clássico, com parâmetros Kp = 2, Ti = 4 e Td = 2.
IV. Da figura é possível determinar os valores Kp, Ti e Td .
V. O algoritmo empregado é o PID ISA ou PID ideal, com parâmetros Kp = 2, Ti = 4 e Td indeterminado.
É(são) correta(s) a(s) afirmativa(s):
Provas
Questão presente nas seguintes provas
Sobre microcontroladores e sistemas embarcados, assinale a alternativa incorreta:
Provas
Questão presente nas seguintes provas
Sobre sistemas supervisórios é incorreto afirmar que:
Provas
Questão presente nas seguintes provas
Sobre a arquitetura básica e aplicações de um CLP é incorreto afirmar que:
Provas
Questão presente nas seguintes provas
O seguinte programa de CLP foi construído para o controle de um sistema de ventilação utilizando motores. O
programa foi desenvolvido usando a linguagem de programação SFC (Sequential Flow Chart).

O motor m1 possui duas velocidades: baixa velocidade (BV) e alta velocidade (AV). O motor m2 possui velocidade única.
Sobre o programa, juntamente com sua legenda de funcionamento, é incorreto afirmar:

O motor m1 possui duas velocidades: baixa velocidade (BV) e alta velocidade (AV). O motor m2 possui velocidade única.
Sobre o programa, juntamente com sua legenda de funcionamento, é incorreto afirmar:
Provas
Questão presente nas seguintes provas
Cadernos
Caderno Container