Foram encontradas 60 questões.
Sabe-se que a constante de velocidade (k) de uma reação é função da temperatura (T) conforme a Lei de Arrhenius:
!$ K = Ae^{ \left( { \large -E-a \over RT} \right )} !$
em que A é o fator de frequência e Ea é a energia de ativação. Em um estudo cinético, observou-se que a velocidade de uma determinada reação aumenta 1000 vezes quando a temperatura do meio reacional aumenta de 400 K para 500 K, permanecendo constantes todos os demais parâmetros iniciais. Assinale a opção que apresenta a energia de ativação desta reação, em kcal mol−1, considerando que A e Ea não dependem da temperatura.
Provas
Constantes
Constante de Avogadro (NA) = 6,02 × 1023 mol−1
Constante de Faraday (F) = 9,65 × 104 C mol−1 = 9,65 × 104 A s mol−1 = 9,65 × 104 J V−1 mol−1
Carga elementar = 1,60 × 10−19 C
Constante dos gases (R) = 8,21 × 10−2 atm L K−1 mol−1 = 8,31 J K−1 mol−1 = 1,98 cal K−1 mol−1
Constante de Planck (h) = 6,63 × 10−34 J s
Velocidade da luz no vácuo = 3,0 × 108 m s−1
Número de Euler (e) = 2,72
Definições
Pressão: 1 atm = 760 mmHg = 1,01325 × 105 N m−2 = 1,01325 bar
Energia: 1 J = 1 N m = 1 kg m2 s−2 = 6,24 × 1018 eV
Condições normais de temperatura e pressão (CNTP): 0 °C e 1 atm
Condições ambientes: 25 °C e 1 atm
Condições padrão: 1 bar; concentração das soluções = 1 mol L−1 (rigorosamente: atividade unitária das
espécies); sólido com estrutura cristalina mais estável nas condições de pressão e temperatura em
questão.
(s) = sólido. (ℓ) = líquido. (g) = gás. (aq) = aquoso. (conc) = concentrado. (ua) = unidades arbitrárias.
u.m.a. = unidade de massa atômica. [X] = concentração da espécie química X em mol L−1
ln X = 2,3 log X
Massas Molares
| Elemento | Número Atômico | Massa Molar |
| H | 1 | 1,01 |
| Li | 3 | 6,94 |
| B | 5 | 10,81 |
| C | 6 | 12,01 |
| N | 7 | 14,01 |
| O | 8 | 16,00 |
| F | 9 | 19,00 |
| Na | 11 | 22,99 |
| Al | 13 | 26,98 |
| Elemento | Número Atômico | Massa Molar |
| P | 15 | 30,97 |
| S | 16 | 32,06 |
| Cl | 17 | 35,45 |
| k | 19 | 39,10 |
| Ca | 20 | 40,08 |
| Ga | 31 | 69,72 |
| Se | 34 | 78,96 |
| Sr | 38 | 87,62 |
Em uma titulação, 100 mL de uma solução de um ácido monoprótico fraco, cuja constante de ionização é igual a 10−9, são neutralizados com 25 mL de uma solução 0,5 mol L−1 de hidróxido de sódio.
Assinale a opção que apresenta o pH no ponto de equivalência da titulação.
Provas
A todo instante, raios cosmicos atingem a atmosfera terrestre e colidem com núcleos atômicos. Dessas interacões, e formada uma cascata de partículas que permeia nossa atmosfera. Muitas dessas partículas são instáveis, o que significa que, após determinado intervalo de tempo (tempo de vida), elas decaem. Seja um múon criado a uma altitude de 100 km e que se movimenta com uma velocidade vertical em direção ao solo de 0;9999c.
Sabendo que seu tempo de vida, em repouso, e de 2;2 s, a mínima altitude que essa partícula atinge, aproximadamente, e de
Provas

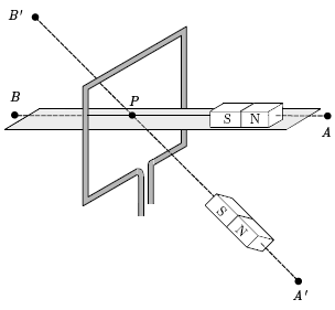
Considere um arranjo experimental, representado na figura, em que um ímã pode se movimentar ao longo das retas !$ \overline{AB} !$ ou !$ \overline{A^{ \prime} B^{ \prime}} !$, sempre com velocidade constante (v << c).Uma espira retangular de auto-indutância desprezível e posicionada perpendicularmente a !$ \overline{AB} !$. Pelo centro da espira, o ponto P, passam as retas !$ \overline{AB} !$ e !$ \overline{A^{ \prime} B^{ \prime}} !$. A corrente elétrica na espira, observada desde a perspectiva de um observador no ponto A, e positiva, por convenção, se estiver no sentido horário. O polo norte do m~a sempre aponta ou para A ou para !$ A^{ \prime} !$.
A respeito da situação física descrita, são feitas as seguintes afirmações:
I. Quando o ímã se desloca de A para P, a corrente na espira é negativa.
II. No momento em que o centro do ímã passa pelo ponto P, a corrente na espira e zero
III. Durante a passagem do ímã de A para B, havera dois picos de corrente medidos.
IV. Quando o ímã passa por !$ \overline{A^{ \prime} B^{ \prime}} !$, a corrente maxima na espira e maior do que a corrente máxima quando o ímã passa por !$ \overline{AB} !$.
Das afirmações I a IV, acima destacadas, estão corretas
Provas
Considere um sistema de coordenadas x; y; z com respectivos vetores de base !$ \left \{ \hat{i}, \hat{j}, \hat{K} \right \} !$ sendo z a coordenada vertical. Uma partcula de massa m e carga elétrica de módulo q é colocada em movimento no vacuo, com velocidade !$ \vec{v} v sen \theta { \hat{j}} - v cos \theta { \hat{K}} !$, em um espaço tridimensional. Nesse espaco, existem um campo magnetico uniforme, !$ \vec{B} = B \hat{i} !$, e um campo gravitacional constante, !$ \vec{g} = - g \hat{K} !$. O ângulo !$ \theta !$ e escolhido de tal forma que a energia cinética da partícula seja conservada.
Dadas essas informações, e possível inferir que a energia cinética da partícula e igual a
Provas

Em vários ramos da ciência e da engenharia, sistemas de interesse são modelados por circuitos elétricos a eles equivalentes. Na biologia, por exemplo, a membrana de um neurônio e modelada por elementos de circuitos elétricos. Considere apenas as seguintes caractersticas:
I. A membrana neuronal e constituída de duas camadas de lipídeos que separam os meios condutores intra e extracelular por uma na camada isolante.
II. As proteínas que cruzam a membrana de um neurônio atuam como poros, canais iônicos não seletivos.
Com base nessas considerações, o sistema entre o interior e o exterior da membrana pode ser representado pelos seguintes elementos de circuitos elétricos:
Provas

Considere um litro polarizador linear no plano S, cuja polarizac~ao e paralela ao eixo x. Uma onda eletromagnética com polarizac~ao linear no eixo z propaga-se na direção do eixo y. Um pêndulo e colocado na frente do litro. A ponta do pêndulo contém uma pequena placa circular feita de um filtro de polarização linear. Quando o pêndulo esta em repouso, a polarização e paralela ao eixo x. O pêndulo oscila no plano Si, de -90 a 90º , conforme mostra a figura. Uma chapa fotografia capaz de absorver a onda eletromagnetica e colocada atrás dos litros de polarizacão. Despreze efeitos de difracão e interferência. Considere que os planos S e SI são paralelos ao plano xz.
Assinale a alternativa que melhor representa o que vai ser visto na chapa fotografia.
Provas
Em eventos esportivos, e comum que os espectadores realizem a coreografia da "ola". Os participantes erguem seus bracos e os abaixam logo em seguida, em fileiras sucessivas, criando o efeito visual de uma onda. Os espectadores gritam juntos "ola" seguindo a propagação da onda. Assuma que a distância D entre as cadeiras e o tempo de deslocamento de braços são constantes. Assuma que um participante so inicia o movimento da \ola" quando o participante na fileira ao lado o encerra. A respeito da situac~ao física descrita, são feitas as seguintes afirmações:
I. Se um estádio com 30.000 pessoas gritando resulta em um ruído sonoro de 90 dB, o ruído de 60.000 pessoas gritando e de aproximadamente 93 dB.
II. A onda resultante da coreografia e longitudinal.
III. A velocidade da onda e diretamente proporcional a e inversamente proporcional a D.
Sobre as afirmações I, II e III pode-se afirmar que
Provas

Considere um recipiente tubular no, com área transversal constante, que contém dois líquidos imissíveis A e B. As hastes verticais deste recipiente distam 20 cm uma da outra (L = 20 cm). Quando o recipiente está em repouso, o líquido A atinge uma altura de 80 cm em relação a linha de separação dos líquidos. Quando o recipiente e colocado em movimento retilneo uniformemente variado, a altura de A com relação a linha de separação dos líquidos passa a ser H = 76 cm, conforme mostra a figura.
Considerando-se que o sistema parta do repouso, a distância percorrida pelo recipiente após um intervalo de 3,0 s
Provas

Um corpo de massa m e lançado em um plano horizontal sem atrito, sob ac~ao da gravidade g, e, ao entrar em um tubo, executa uma trajetória circular de raio R. A força exercida no corpo pelo tubo logo após o incio do movimento circular tem intensidade F. Após meia volta, o corpo percorre uma trajetória retlinea em movimento uniforme ate certa distância e depois sobe ate certa altura h. O corpo sai do tubo em movimento vertical e imediatamente passa a se mover dentro de um fluído viscoso ate atingir altura máxima H, conforme mostra a figura. Considere que o corpo se desloca pelo tubo sem atrito; que o diâmetro do tubo e desprezível em relação a R; h e H; e que o módulo do trabalho realizado pela força de atrito viscoso ate a massa atingir H e equivalente a um terco da energia cinética da partícula, quando esta adentra o fluído.
Assinale a alternativa que expressa H em func~ao das variaveis fornecidas.
Provas
Caderno Container