Foram encontradas 2.000 questões.
Um motor de indução trifásico de 60 Hz possui 4 polos e apresenta um escorregamento a plena carga de 3%.
No instante da partida desse motor, a frequência das correntes induzidas no circuito do rotor, em hertz, vale
No instante da partida desse motor, a frequência das correntes induzidas no circuito do rotor, em hertz, vale
Provas
Questão presente nas seguintes provas
A Figura acima mostra um sinal de tensão senoidal, onde estão indicadas medidas de amplitude e tempo.
Aplicando-se esse sinal de tensão senoidal sobre um resistor de 5 Ω, qual será o valor aproximado, em A, da corrente eficaz que passará através desse resistor?
Provas
Questão presente nas seguintes provas
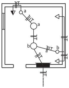
A Figura abaixo mostra um esboço da instalação elétrica de uma sala.

A respeito dos componentes a serem instalados nessa sala, verifica-se que haverá

A respeito dos componentes a serem instalados nessa sala, verifica-se que haverá
Provas
Questão presente nas seguintes provas
Uma carga trifásica equilibrada, puramente resistiva, é ligada em estrela e demanda uma potência P.
Se essa carga for ligada em delta, a potência demandada será
Se essa carga for ligada em delta, a potência demandada será
Provas
Questão presente nas seguintes provas

A Figura acima mostra o diagrama de comando de um contator instalado em uma subestação. Deseja-se programar um CLP (controlador lógico programável) utilizando a linguagem LADDER para que desempenhe a mesma função.
Supondo que o estado dos contatos externos (F1, S0 e S1) sejam variáveis lógicas de mesmo nome, e que a saída para o contator K1 seja a saída lógica K1, então, o diagrama LADDER que representa a mesma lógica do circuito acima é
Provas
Questão presente nas seguintes provas
- EletrotécnicaCircuitos Elétricos em Eletricidade
- EletrotécnicaCircuitos de Corrente Contínua e de Corrente Alternada
A Figura abaixo mostra o diagrama elétrico simplificado do arranjo de instrumentos utilizado para “medir” o fator de potência de uma carga indutiva.

Sabendo-se que o medidor v é um voltímetro, então, os medidores x e y, respectivamente, são

Sabendo-se que o medidor v é um voltímetro, então, os medidores x e y, respectivamente, são
Provas
Questão presente nas seguintes provas
Uma vez a cada ano, a equipe de manutenção elétrica de certa indústria realiza a troca dos contatos principais do disjuntor de alimentação.
Essa filosofia é característica de uma manutenção
Essa filosofia é característica de uma manutenção
Provas
Questão presente nas seguintes provas
As três bobinas de um motor trifásico são conectadas em estrela, e a tensão sobre cada bobina é de 220 V.
Quando essas bobinas forem ligadas em triângulo, o valor aproximado, em volts, da tensão sobre cada uma delas será
Dado
√3= 1,73
Quando essas bobinas forem ligadas em triângulo, o valor aproximado, em volts, da tensão sobre cada uma delas será
Dado
√3= 1,73
Provas
Questão presente nas seguintes provas
Uma carga resistiva trifásica e balanceada, conectada em triângulo e alimentada por uma tensão trifásica equilibrada, consome uma potência ativa PΔ. Se essa mesma carga for conectada em estrela e alimentada pelo mesmo sistema, ela consumirá uma potência PY.
Sendo assim, o valor da relação PY/PΔ é
Sendo assim, o valor da relação PY/PΔ é
Provas
Questão presente nas seguintes provas

A Figura acima mostra a tela de um osciloscópio onde, na parte superior, aparece o sinal de tensão de uma onda quadrada que é aplicada na entrada de um circuito RC.
Na parte inferior da Figura, mede-se o sinal de tensão correspondente à saída desse mesmo circuito.
O experimento com o circuito RC que resultou nas formas de onda da Figura acima possui as seguintes características:
• o circuito é composto por um resistor de 100 Ω e um capacitor de capacitância C desconhecida;
• a frequência angular da onda quadrada de entrada é de 100π rad/s;
• a metade do período do sinal da onda quadrada de entrada é exatamente igual a cinco constantes de tempo desse circuito RC.
Com base nas informações dadas, qual o valor, em μ F, da capacitância C?
Provas
Questão presente nas seguintes provas
Cadernos
Caderno Container