Foram encontradas 3.167 questões.

O desenho acima apresenta uma tubulação de água de refrigeração instalada na área 3 e conectada à bomba 1. Com relação a essa figura, julgue o item que se segue.
A bomba (B1) pode ser identificada como B 31.
Provas
O sistema mostrado na figura ao lado é constituído pela massa m 1 apoiada sobre a massa m 2 , a qual é presa por uma mola de constante k a um suporte rígido. A massa m 2 está livre para rolar sobre rodas de massa desprezível e sobre a mesma é aplicada uma força F. Nessa situação, considerando que : seja o coeficiente de atrito entre os blocos e g seja a aceleração da gravidade, julgue os itens a seguir.

A força F é sempre diferente da força na mola.
Provas
Os conceitos científicos e tecnológicos necessários à ação de medição são do escopo da metrologia. A metrologia industrial está associada à medida de variáveis a serem monitoradas para possibilitar o controle dos processos. Considerando-se aspectos de metrologia, julgue os itens a seguir.
Uma grandeza (mensurável) é um atributo de um fenômeno, corpo ou substância que pode ser qualitativamente distinguido e quantitativamente determinado.
Provas

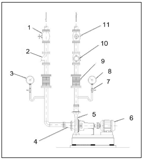
Com base na figura acima, que representa uma típica instalação de bombeamento, julgue os itens subseqüentes.
O item 2 representa uma válvula de retenção.
Provas
O emprego dos gases para transmissão de energia é objeto de estudo da pneumática. Os sistemas pneumáticos utilizam o ar comprimido, que age em um pistão de modo a desenvolver uma força para atuar sobre uma haste que, por sua vez, realiza trabalho movendo determinado dispositivo ou alçando uma carga. Acerca desse assunto, julgue o item a seguir.
O sistema pneumático realiza trabalho quando o ar comprimido no seu interior está à pressão atmosférica.
Provas
As máquinas que dispõem de lubrificação a óleo precisam de retentores, de forma a se evitarem vazamentos e a entrada de impurezas. Aspecto fundamental a ser considerado na escolha dos retentores é o de verificar se o seu material é compatível com o fluido a ser vedado e com a temperatura de trabalho. Considerando um motor que utiliza óleo derivado de petróleo em seu sistema de lubrificação, julgue o item subseqüente.
Em locais específicos do motor, utiliza-se graxa como lubrificante, havendo necessidade de retentores mecânicos para a vedação. Nesse caso, os retentores de poliuretano devem ser utilizados.
Provas
Os instrumentos para medição de pressão podem ser classificados segundo algumas categorias, de acordo com o seu fundamento. Por exemplo, os instrumentos podem funcionar com base na gravidade, na deformação elástica, no comportamento dos gases e na saída elétrica. Com relação a esse assunto, é correto afirmar que
o tubo de Bourdon é um exemplo de instrumento de medição de pressão que utiliza o princípio da gravidade.
Provas

Acerca de terminologia e simbologia de soldas e com base na figura acima, julgue os itens subseqüentes.
O símbolo que indica a solda de filete deveria estar no lado contrário da simbologia, pois a solda se encontra no lado oposto à indicação.
Provas
A maioria dos acessórios utilizados nos tornos de usinagem tem por objetivo auxiliar e oferecer eficiência ao processo, assim como garantir condições de trabalho seguras para as ferramentas, viabilizando um acabamento de qualidade com precisão das medidas. Quanto aos acessórios dos tornos, julgue os itens a seguir.
O arrastador com dois parafusos é indicado para passos profundos de usinagem.
Provas

O comprimento de uma barra de cobre foi medido utilizando-se uma régua de aço inoxidável com escala graduada em unidades inglesas (polegadas e frações da polegada) na forma indicada na figura acima. Considerando esse contexto, julgue o item subseqüente, relativos a metrologia.
O tamanho da barra mostrada na figura é de 1 11/32O.
Provas
Caderno Container