Foram encontradas 40 questões.
Provas
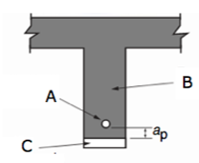
De acordo com a NBR 6.118, a imagem abaixo apresenta o estado-limite de descompressão parcial. A letra C corresponde respectivamente à:

Provas
Levando em consideração a NBR 9.077, analise as assertivas abaixo:
I. Local de saída única é o local em um pavimento da edificação onde a saída é possível apenas em um sentido.
II. Os patamares das rampas devem ser sempre em nível, tendo comprimento mínimo de 1,00 m, medidos na direção do trânsito, sendo obrigatórios sempre que houver mudança de direção ou quando a altura a ser vencida ultrapassar 4,00 m.
III. Em qualquer edificação, os pavimentos sem saída em nível para o espaço livre exterior devem ser dotados de escadas, enclausuradas ou não, as quais devem ser dotadas de guardas em seus lados abertos, dentre outros.
Quais estão corretas?
Provas
De acordo com a NBR 15.575, analise as assertivas abaixo:
I. Telhado de alpendre é o telhado constituído ou formado por uma única água.
II. Ático é o espaço compreendido entre o forro e uma laje ou pano de telhado que lhe é paralelo.
III. Laje plana é a laje de cobertura com declividade menor ou igual a 8%.
IV. Teto é a superfície inferior de uma cobertura, ou de entrepisos, que delimita internamente a parte superior de um cômodo.
Quais estão corretas?
Provas
Provas
Provas
Provas
Disciplina: Direito Constitucional
Banca: FUNDATEC
Orgão: Pref. Farroupilha-RS
( ) De tráfico. ( ) Político. ( ) De opinião.
A ordem correta de preenchimento dos parênteses, de cima para baixo, é:
Provas
Disciplina: Direito Constitucional
Banca: FUNDATEC
Orgão: Pref. Farroupilha-RS
Assinale a alternativa que preenche corretamente a lacuna do trecho acima.
Provas
Disciplina: Direito Constitucional
Banca: FUNDATEC
Orgão: Pref. Farroupilha-RS
- Organização dos PoderesPrincípio da Separação dos Poderes
- Organização dos PoderesPoder LegislativoProcesso Legislativo
- Organização dos PoderesPoder Executivo
- Organização dos PoderesPoder Judiciário
I. No âmbito federal, o Poder Legislativo é exercido no Congresso Nacional por deputados e senadores; no estadual, por deputados nas Assembleias Legislativas; e, em nível municipal, os Vereadores exercem o poder nas Câmaras.
II. O Poder Executivo, formado por presidente, governadores e prefeitos, é responsável por gerir as leis do país e viabilizar programas sociais, educativos, culturais, de saúde e de infraestrutura, por exemplo, a fim de garantir a qualidade e a eficácia dos serviços públicos.
III. O Poder Judiciário é composto por juízes, promotores de justiça, desembargadores e ministros, por exemplo, e é o único dos três poderes presente apenas no âmbito federal e estadual.
Quais estão corretas?
Provas
Caderno Container