Foram encontradas 260 questões.


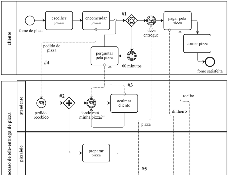
A respeito do modelo precedente, assinale a opção correta, de acordo com a BPM ( business process modeling).
Provas
Questão presente nas seguintes provas
Antônio outorgou, por procuração, um mandato para realizar negócios jurídicos de interesse do outorgante, Luciano. Um desses negócios jurídicos deveria ser realizado com a maior brevidade para evitar demora que pudesse gerar perigo. No entanto, pendente de conclusão do negócio jurídico a ele cometido, Luciano faleceu.
Nesse caso, de acordo com os dispositivos do Código Civil, os herdeiros de Luciano deverão
Provas
Questão presente nas seguintes provas
Determinada empresa industrial fabrica os produtos A e B e dispõe de um departamento de serviço e de um de produção. A tabela seguinte mostra informações relativas a determinado período de apuração de custos desses produtos.
| custos | produto A | produto B |
| diretos | R$ 2.000 | R$ 4.000 |
| totais | R$ 4.000 | R$ 6.000 |
Os custos indiretos próprios do departamento de produção, que somaram R$ 3.000, bem como os custos indiretos recebidos por rateio do departamento de serviço da fábrica, foram alocados aos produtos na proporção dos seus custos diretos.
O total dos custos indiretos do departamento de serviço dessa empresa corresponde a
Provas
Questão presente nas seguintes provas
A tabela a seguir mostra os gastos realizados, no período X0, por determinada empresa industrial que fabrica apenas um tipo de produto. Essa empresa utiliza o custeio por absorção, sendo o objeto de custeio o produto fabricado.
| custo/despesa | valor (em R$) |
| salários de vendedores | 10.000 |
| salários do pessoal da fábrica | 30.000 |
| salários da administração | 20.000 |
| materiais utilizados na produção | 4.000 |
| embalagens do produto fabricado | 5.000 |
| seguro do prédio da fábrica | 1.500 |
| manutenção do prédio da fábrica | 5.000 |
| matéria-prima consumida | 120.000 |
| despesas financeiras | 10.000 |
| depreciação dos equipamentos da fábrica | 5.000 |
| material de escritório | 2.000 |
A partir dessas informações, assinale a opção correta.
Provas
Questão presente nas seguintes provas
As informações mostradas a seguir foram extraídas de uma nota fiscal emitida por fornecedor a uma companhia industrial que havia adquirido matérias-primas para seu processo produtivo.
• valor das mercadorias: R$ 100.000,00
• imposto sobre produtos industrializados (IPI) destacado: R$ 10.000,00
• alíquota de ICMS: 18%
• imposto sobre produtos industrializados (IPI) destacado: R$ 10.000,00
• alíquota de ICMS: 18%
Se a transação não implicou outros custos, então a companhia industrial deve ter contabilizado
Provas
Questão presente nas seguintes provas
Se uma entidade adquirir, à vista, ações da própria entidade pelo valor de mercado, então, para a entidade essa operação representará um fato contábil
Provas
Questão presente nas seguintes provas
Em 2018, uma empresa converteu em ações as debêntures por ela emitidas no mercado em 2014. A data de vencimento dessas debêntures é 31/10/2019.
Nessa situação hipotética, os indicadores econômico-financeiros das demonstrações contábeis encerradas em 2018 mostrarão um(a)
Provas
Questão presente nas seguintes provas
- Organização dos PoderesPoder ExecutivoPresidente e Vice-Presidente da RepúblicaResponsabilidade do Presidente da República
A respeito do julgamento dos crimes de responsabilidade e dos crimes comuns cometidos pelo presidente da República, assinale a opção correta.
Provas
Questão presente nas seguintes provas
À luz da legislação do estado do Rio Grande do Sul, no caso de transmissão causa mortis, consiste em critério temporal da hipótese de incidência do ITCD a data
Provas
Questão presente nas seguintes provas
Um empréstimo, tomado no sistema de amortização francês, foi quitado em 5 prestações mensais, consecutivas e iguais a R$ 836,00. A primeira prestação vencia em um mês após a tomada do empréstimo, e a taxa de juros nominal do financiamento era de 54% ao ano. Na data de vencimento da quarta prestação, o tomador do empréstimo pagou, juntas, a quarta e a quinta prestações, quitando o empréstimo.
Nesse caso, o valor pago nessa data foi igual a
Provas
Questão presente nas seguintes provas
Cadernos
Caderno Container