Foram encontradas 1.192 questões.
No desenho técnico, as vistas em perspectivas são utilizadas para
facilitar a visualização e compreensão das peças em análise.
Com relação aos principais tipos de perspectiva, analise as
afirmativas a seguir.
I. A perspectiva isométrica é uma perspectiva central que se utiliza de um ou mais pontos de fuga.
II. A perspectiva trimétrica é uma perspectiva axonométrica ortogonal onde os três ângulos do triedro de referência se projetam em ângulos desiguais no quadro.
III. A perspectiva cavaleira é uma perspectiva cilíndrica oblíqua, na qual o objeto tem uma face paralela ao quadro.
Está correto o que se afirma em
I. A perspectiva isométrica é uma perspectiva central que se utiliza de um ou mais pontos de fuga.
II. A perspectiva trimétrica é uma perspectiva axonométrica ortogonal onde os três ângulos do triedro de referência se projetam em ângulos desiguais no quadro.
III. A perspectiva cavaleira é uma perspectiva cilíndrica oblíqua, na qual o objeto tem uma face paralela ao quadro.
Está correto o que se afirma em
Provas
Questão presente nas seguintes provas
Em uma elipse cuja equação é 25x2 +16y2 =400, seja o triângulo ABC,
sendo A e B os focos e C um ponto genérico da cônica, exceto os
vértices.
Então, o perímetro será
Então, o perímetro será
Provas
Questão presente nas seguintes provas
Em relação aos efeitos de alguns parâmetros de usinagem no
acabamento superficial da peça, analise as afirmativas a seguir.
I. Em geral, a rugosidade é menor (ou o acabamento é melhor) quando a ponta da ferramenta é aguda
II. Em geral, a rugosidade é menor (ou o acabamento é melhor) quando deflexões geradas por esforços de usinagem ou vibrações são pequenas;
III. Em geral, a rugosidade é menor (ou o acabamento é melhor) quando porosidades e inclusões no material da peça a ser usinada não interferem no nível de rugosidade;
IV. Em geral, a rugosidade é menor (ou o acabamento é melhor) quando o eixo principal da máquina-ferramenta está corretamente alinhado e as guias sem desgastes.
Está correto o que se afirma em
I. Em geral, a rugosidade é menor (ou o acabamento é melhor) quando a ponta da ferramenta é aguda
II. Em geral, a rugosidade é menor (ou o acabamento é melhor) quando deflexões geradas por esforços de usinagem ou vibrações são pequenas;
III. Em geral, a rugosidade é menor (ou o acabamento é melhor) quando porosidades e inclusões no material da peça a ser usinada não interferem no nível de rugosidade;
IV. Em geral, a rugosidade é menor (ou o acabamento é melhor) quando o eixo principal da máquina-ferramenta está corretamente alinhado e as guias sem desgastes.
Está correto o que se afirma em
Provas
Questão presente nas seguintes provas
Um avião voa seguindo uma trajetória hiperbólica em função dos
eixos cartesianos X’Y’, cuja equação é 2(y’)2 – (x’)2 = 8. No entanto a
horizontal do terreno é orientando com eixo X e a sua vertical ao eixo
Y, os planos dos eixos X’Y’ e XY são coincidentes.
Sabendo-se que o ângulo do eixo X para o eixo X’ é de 45º no sentido anti-horário, então a altura do avião, quando ele encontrar o eixo Y, será de
Sabendo-se que o ângulo do eixo X para o eixo X’ é de 45º no sentido anti-horário, então a altura do avião, quando ele encontrar o eixo Y, será de
Provas
Questão presente nas seguintes provas
Se A é uma matriz quadrada de ordem n tal que A2 = kA , sendo k um
número real positivo.
Sabendo que o determinante de A, det(A), é diferente de zero, então,
Sabendo que o determinante de A, det(A), é diferente de zero, então,
Provas
Questão presente nas seguintes provas
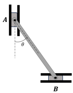
A figura a seguir mostra uma barra de 1m de comprimento ligada, por pinos, a trilhos que deslizam, sem atrito, em A na vertical para baixo e em B na horizontal para a direita.

No instante em que o ângulo da barra com a vertical é igual a \( \theta \) = 30°, a aceleração do ponto A da barra possui módulo igual a 4m/s2 e sua velocidade angular é igual a 2rad/s.
Para o instante em que \( \theta \) = 30°, o módulo da aceleração angular, em rad/s2, da barra é igual a
Provas
Questão presente nas seguintes provas
A seleção do gás de proteção e do tipo de corrente (amperagem)
para o processo de soldagem TIG (Tungsten Inert Gas) são obtidas
principalmente em função do tipo de metal que deseja soldar.
Sobre o tema, analise as afirmativas a seguir.
I. Para a soldagem de ligas de alumínio é utilizado o argônio puro ou mistura de argônio e hélio em corrente alternada.
II. Para a soldagem de aço carbono é recomendado a utilização de mistura de argônio com dióxido de carbono em corrente contínua eletrodo positivo (polaridade inversa).
III. Para a soldagem de ligas de titânio é recomendado a utilização de mistura de argônio com dióxido de carbono em corrente alternada.
IV. Para a soldagem de aço inoxidável austenítico é recomendado a utilização de argônio puro em corrente contínua eletrodo negativo (polaridade direta).
Está correto o que se afirma em
Sobre o tema, analise as afirmativas a seguir.
I. Para a soldagem de ligas de alumínio é utilizado o argônio puro ou mistura de argônio e hélio em corrente alternada.
II. Para a soldagem de aço carbono é recomendado a utilização de mistura de argônio com dióxido de carbono em corrente contínua eletrodo positivo (polaridade inversa).
III. Para a soldagem de ligas de titânio é recomendado a utilização de mistura de argônio com dióxido de carbono em corrente alternada.
IV. Para a soldagem de aço inoxidável austenítico é recomendado a utilização de argônio puro em corrente contínua eletrodo negativo (polaridade direta).
Está correto o que se afirma em
Provas
Questão presente nas seguintes provas
Com relação a propriedade conhecida como tenacidade, analise os
itens a seguir.
I. A tenacidade está relacionada com a energia necessária para romper o material.
II. A tenacidade não está relacionada com a área sob a curva tensão versus deformação do material.
III. Um material dúctil com a mesma resistência de um material frágil requerer maior energia para ser rompido e, portanto, é mais tenaz.
IV. A tenacidade pode ser definida como sendo a capacidade do material absorver energia quando deformado elasticamente.
Está correto o que se afirma em:
I. A tenacidade está relacionada com a energia necessária para romper o material.
II. A tenacidade não está relacionada com a área sob a curva tensão versus deformação do material.
III. Um material dúctil com a mesma resistência de um material frágil requerer maior energia para ser rompido e, portanto, é mais tenaz.
IV. A tenacidade pode ser definida como sendo a capacidade do material absorver energia quando deformado elasticamente.
Está correto o que se afirma em:
Provas
Questão presente nas seguintes provas
Considere os pontos colineares P1, P2 e P3 . P1 está a uma distância
de P2 de 22 m e P2 está a 51 m de P3. O ponto A é o ponto médio de
P1 e P2 e o ponto B é o ponto médio de A e P3.
A distância entre os pontos P2 e B é
A distância entre os pontos P2 e B é
Provas
Questão presente nas seguintes provas
Sobre a finalidade de se empregar o tratamento térmico conhecido
como revenimento em peças que foram submetidas ao tratamento
de têmpera, assinale a afirmativa correta.
Provas
Questão presente nas seguintes provas
Cadernos
Caderno Container