Foram encontradas 40 questões.
Provas
Provas
O Estatuto da Cidade estabelece a política urbana no Brasil, tendo como objetivo ordenar o pleno desenvolvimento das funções sociais da cidade e da propriedade urbana. Em relação aos instrumentos da política urbana definidos por esse Estatuto, analise as seguintes assertivas, assinalando V, se verdadeiras, ou F, se falsas.
( ) O usucapião especial de Imóvel Urbano” ocorre quando o possuidor tem área ou edificação urbana de até duzentos e cinquenta metros quadrados, por cinco anos ininterruptos e sem oposição, utilizando-o para sua moradia ou de sua família, mesmo sendo proprietário de outro imóvel.
( ) O direito de superfície consiste na concessão que um proprietário urbano faz a outrem do direito a utilizar o solo, o subsolo ou o espaço aéreo relativo ao seu terreno, por tempo determinado ou indeterminado.
( ) O direito de preempção confere ao Poder Público municipal a preferência para a aquisição de imóvel urbano objeto de alienação onerosa entre particulares.
( ) A transferência do direito de construir autoriza o proprietário de imóvel urbano, privado ou público, a construir em outro local para fins de implantação de equipamentos urbanos e comunitários.
A ordem correta de preenchimento dos parênteses, de cima para baixo, é:
Provas
I. O custo de um loteamento com traçado não ortogonal é maior do que um de traçado ortogonal.
PORQUE
II. O perímetro dos quarteirões aumenta com a necessidade de mais quilometragem de vias para servir a uma mesma área urbana.
A respeito dessas asserções, assinale a alternativa correta.
Provas
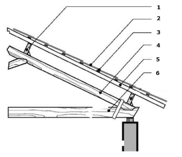
A representação gráfica de um telhado tem hachuras e denominações específicas. Conforme a imagem abaixo, assinale a alternativa que relaciona, correta e respectivamente, os números da figura aos elementos que compõem um telhado.

Provas
Provas
Provas
Assinale a alternativa que preenche corretamente a lacuna do trecho acima.
Provas
Provas
Provas
Caderno Container